The first Marketplace for sci-tech


We wellcome technological products or services from any technological company, specially emerging companies from Universities, research centres, spin-off, start-ups.

We will upload your tech product or service for free. What do you get?

  1. Increased visibility.
  2. Identify novel potential markets.
  3. Sell in Europe and test real demand in novel markets.

Contact us

Willing to upload your product?


Please, send us:

  1. A brief description en English.
  2. (optional) representative photo of your product or service.

That is all, your product is ready and available!

Please check our General Terms and Conditions for online purchases.

Method for producing gluten-free bakery pastisserie and products
*Contact us for further details, patent valuation and licensign.

This patent describes a method for producing gluten-free bakery and patisserie products (both leavened and unleavened) that achieves organoleptic and rheological properties comparable to traditional gluten-containing counterparts, primarily through physical processes while minimizing additives.
0.00 € 0.0 EUR
A solid waste collection device and system
The present invention is related to the efficient management of the selective collection of urban waste. Currently, more than 70% of the solid waste deposited in containers is either incinerated or ends up in landfills due to the lack of classification (e.g. paper, glass, plastics, and organic matter), which prevents its industrial reuse.

The CaliWASTE smart container aims to improve this classification, guaranteeing that only the waste destined for this specific container is deposited, based on the estimation of the density (Kg/m3) of the deposited waste. The CaliWASTE container contains inside a compartment equipped with a set of integrated electronic devices: weight sensor, volume sensor, electronic control unit, and a processor that calculates the density of the introduced waste, so that, if the resulting value is within the predefined range of acceptable values, a folding lap opens to an inclined position in which the waste is discharged by gravity.

The CaliWASTE container also has ICT devices so that, the collected information is sent to the waste manager, to enable the optimisation of the waste collection routes and schedules.

*Contact us for details.
0.00 € 0.0 EUR
Bubble Column-Type Bioreactor for Suspended Plant Cell Cultivation
*Contact us for further details, patent valuation and licensign.

A new 'bubble' column bioreactor for the aseptic cultivation of plant cells in suspension, designed to enable the recovery and replacement of the culture medium and reuse of residual biomass for subsequent operations.
0.00 € 0.0 EUR
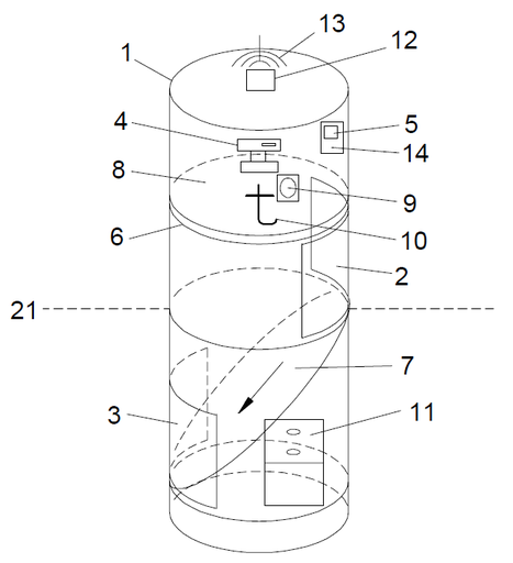
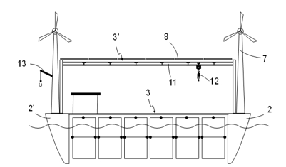
system for the generation, storage, and distribution of green hydrogen
The present invention addresses the decarbonization of maritime transport using renewable energy sources.
This is an offshore system dedicated to the generation, storage, and distribution of green hydrogen. At its core is a floating platform equipped with either solar panels or a wind turbine, supplying the clean energy required to pump seawater, desalinate it, and perform electrolysis. The complete system includes an evaporator, a condenser (for water desalination), and an electrolyzer. Additionally, HydroVERDE features battery-based energy backup. The hydrogen produced is stored at low pressure using adsorption techniques in the form of metallic hydrides. HydroVERDE also integrates advanced electronic and telecommunication systems to optimize hydrogen loading and unloading. It features IoT-based power electronics monitoring and external communication interfaces for data exchange and geolocation, enabling real-time adaptation of hydrogen production to energy demand.
0.00 € 0.0 EUR