A solid waste collection device and system

A solid waste collection device and system

https://knowtransfer.ekodo.es/web/image/product.template/54/image_1920?unique=ca8909c

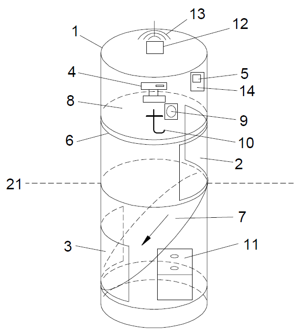
The present invention is related to the efficient management of the selective collection of urban waste. Currently, more than 70% of the solid waste deposited in containers is either incinerated or ends up in landfills due to the lack of classification (e.g. paper, glass, plastics, and organic matter), which prevents its industrial reuse.

The CaliWASTE smart container aims to improve this classification, guaranteeing that only the waste destined for this specific container is deposited, based on the estimation of the density (Kg/m3) of the deposited waste. The CaliWASTE container contains inside a compartment equipped with a set of integrated electronic devices: weight sensor, volume sensor, electronic control unit, and a processor that calculates the density of the introduced waste, so that, if the resulting value is within the predefined range of acceptable values, a folding lap opens to an inclined position in which the waste is discharged by gravity.

The CaliWASTE container also has ICT devices so that, the collected information is sent to the waste manager, to enable the optimisation of the waste collection routes and schedules.

*Contact us for details.

0.00 € 0.0 EUR 0.00 €

0.00 €

Not Available For Sale

    This combination does not exist.

    Terms and Conditions
    VAT not included 
    30-day money-back guarantee
    Shipping: 3-5 business days
    Products can be shipped to Spain (excluding Canary Islands and Balearic Islands).