The first Marketplace for sci-tech


Only innovative products, services or protections may be included. What do you get?

  • A fully functional platform, 
  • Secure payments and automatic processing.
  • Increased visibility and cross-selling.
  • Test demand, sell in Europe, explore novel markets.
  • Even early MVPs or prototypes may be included.

Contact us

radio-based precision clinometer
Precise inclination measurement system with high-precision MEMS electronics and radio communications.

MEMS-sensor based radio clinometer is a precision instrument designed for geotechnical, structural, and infrastructure monitoring.

It measures angular variations or tilt relative to the vertical or horizontal axis with high accuracy, enabling the detection of ground movement, deformation, or displacement in civil and geotechnical applications.

*contact us for further details
0.00 € 0.0 EUR
Chromatographic nano-column
Chromatographic nano-columns engineered for unmatched performance in nanoLC-MS. Featuring our proprietary glass funnel emitter technology and integrated emitter design, our columns eliminate the need for additional fittings or external emitters, reducing dead volume and maximizing ionization efficiency. With high-pressure, ultra-compact packing methods, offer exceptional reproducibility and peak shape, even in demanding proteomics applications.

* Contact for further details.
0.00 € 0.0 EUR
Robotic assisted rehabilitation of hands and arms
Collaborative rehabilitation of arms with the aid of colalborative robot, handler and software assisted training sesions.
*Please, contact us for details.
0.00 € 0.0 EUR
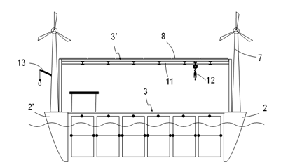
Patent for the generation, storage, and distribution of green hydrogen
The present invention addresses the decarbonization of maritime transport using renewable energy sources.
This is an offshore system dedicated to the generation, storage, and distribution of green hydrogen. At its core is a floating platform equipped with either solar panels or a wind turbine, supplying the clean energy required to pump seawater, desalinate it, and perform electrolysis. The complete system includes an evaporator, a condenser (for water desalination), and an electrolyzer. Additionally, HydroVERDE features battery-based energy backup. The hydrogen produced is stored at low pressure using adsorption techniques in the form of metallic hydrides. HydroVERDE also integrates advanced electronic and telecommunication systems to optimize hydrogen loading and unloading. It features IoT-based power electronics monitoring and external communication interfaces for data exchange and geolocation, enabling real-time adaptation of hydrogen production to energy demand.
0.00 € 0.0 EUR
B2B AI agent, by SintonAI
*contact us for personalized budget

Create your AI agent in just a few minutes.
Connect, sell and build loyalty!
Boost your website and eCommerce sales and improve your customer experience with AI agents who can assist you, sell, and schedule meetings for you. Automate customer service and sales processes in minutes with a smart, personalized, and always-on solution that requires no technical knowledge.
0.00 € 0.0 EUR
Data mining technology for “Non digitally native documents”
*Contact us for further details.

Our software-based methodology enables the transcription of manuscripts, files or old documents difficult to read using standard OCR techniques.

Our proprietary method includes:

🧠 Step 1 – Machine Learning Adapted to the Text We train our models using data from your own collection. PrIx learns to recognize text through its own semantic andgraphical models.
🔍 Step 2 – Direct Search on the Image The system geolocates the zones in the image where a givensearch term is most likely to appear.
📊 Step 3 – Results with Context and Metadata PrIx not only finds the word—it helps structure the information. It can extract names, dates, and relationships, and generatemetadata automatically.
0.00 € 0.0 EUR
Advanced optical character recognition with generative AI
Prisma is not just another OCR tool. It is a platform that combines advanced optical character recognition with generative AI to transform unstructured documents into actionable data.
Beyond simply transcribing text, Prisma understands context, adapts to each client’s document workflows, and ensures accuracy even with complex layouts or low-quality scans.

Prisma is built on three pillars: Adaptive learning: Prisma is trained on your own document collections, allowing it to recognize domain-specific terminology, formats, and exceptions. Contextual intelligence: Instead of extracting isolated fields, Prisma structures information, linking names, dates, amounts, and entities into coherent outputs. Seamless integration: Results are delivered with clean metadata, ready to connect with ERPs, CRMs, or BI tools, ensuring smooth adoption and measurable efficiency gains. The result is a system that accelerates processes, reduces manual workload, and gives organizations a reliable way to scale document management with confidence.

*contact us for further details
0.00 € 0.0 EUR
e-Technology transfer office (e-TTO)
We work in line as external support for TTOs, fostering effective technology transference.

Our services include:

* identify marketable technologies and proceses.
* test suitable markets en Europe, even before establishing a spin-off.
* upload innovative products and services to our sci-tech marketplace.
* explore novel funding opportunities.

*contact us for details.
0.00 € 0.0 EUR

Willing to upload your product?

Please, send us:

  1. Title and brief description of your product.
  2. Representative photograph.
  3. Price (excluding VAT).

That is all, your product will be ready and available in our marketplace!

Please check our General Terms and Conditions for online purchases.