Patent for the generation, storage, and distribution of green hydrogen

Patent for the generation, storage, and distribution of green hydrogen

https://knowtransfer.ekodo.es/web/image/product.template/67/image_1920?unique=ca8909c

The present invention addresses the decarbonization of maritime transport using renewable energy sources.
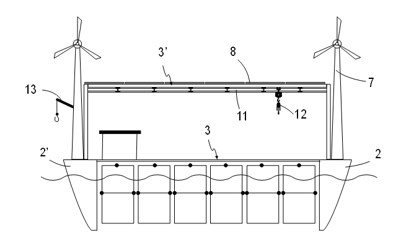
This is an offshore system dedicated to the generation, storage, and distribution of green hydrogen. At its core is a floating platform equipped with either solar panels or a wind turbine, supplying the clean energy required to pump seawater, desalinate it, and perform electrolysis. The complete system includes an evaporator, a condenser (for water desalination), and an electrolyzer. Additionally, HydroVERDE features battery-based energy backup. The hydrogen produced is stored at low pressure using adsorption techniques in the form of metallic hydrides. HydroVERDE also integrates advanced electronic and telecommunication systems to optimize hydrogen loading and unloading. It features IoT-based power electronics monitoring and external communication interfaces for data exchange and geolocation, enabling real-time adaptation of hydrogen production to energy demand.

0.00 € 0.0 EUR 0.00 €

0.00 €

Not Available For Sale

    This combination does not exist.

    Terms and Conditions
    VAT not included 
    30-day money-back guarantee
    Shipping: 3-5 business days
    Products can be shipped to Spain (excluding Canary Islands and Balearic Islands).